Criteria for comprehensive mass transit:
1. Accessibility from within an acceptable walking distance
2. Frequency at a reasonable wait times
3. Speed at acceptable levels
4. Comfort and privacy
5. Effective cost / short time of (modular) construction / complete coverage over all major streets, roads avenues.
6. Emissions and noise free mass transit - powered by renewable energy
|
The C-train concept is an automated mass
transit mode of elevated light weight trains
with seating room only.
At about 10 to 12 seats placed in sequence,
the C-train has a low height and width to
help minimize weight as well as visual impact
on the urban landscape.
The low weight of the trains also simplifies the
size and cost of supporting structures as well
as their visual impact on the urban landscape.
Weather - The cTrain is free from traffic as
well as weather changes. The rails are
heated to melt snow or ice buildup.
Stations with minimal
impact - given that the length
of each train is about 40' feet,
the stations will have a small
visual impact on the urban
landscape.
Construction costs - The C-Train itself is not expected to cost more than its
proportional length in the same number of cars; most likely much less given that
it would have electric motors.
Easy Assembly - The trains can be assembled in modules in the vertical depots
to the extent that with all the parts in place a few workers can have a train on the
tracks in a matter of hours. As for the sustaining structures, once the technology
is developed and standardized it is reasonable to assume that, to start with, the
vertical pillars would neither be more expensive nor larger than regular concrete
poles seen today in urban areas. The cost of the tracks and arches holding the
tracks can also be assumed to be reasonable with existing materials and
methods. In a standardized model with trucks equipped to provide access to the
required height the tracks can be placed efficiently in place.
Smooth crossing at intersections - crossings are designed for smooth and
seamless, as well as noise-free and without any moving parts required for the
rails.
Fig. 18A and B - lower wheels intersection of tracks
Smooth crossing at intersections
Fig. 19C - Upper wheels intersection of tracks with transitional support for
lower wheels (274)
Valuable Real Estate from Vertical Depots
In the example below cTrains are stored vertically
above existing streetcar lines freeing up valuable real
estate taken by depot at Cleveland Circle in Brookline,
MA
Noise Free - the cTrain
wheels use rubber on the
area of contact with the
tracks which combined with
small electric motors
produce no audible noise.

The last mile issue would be mostly eliminated as the cTrain will typically be available at the end of most side streets as it would travel over all major avenues.
The cTrain is estimated to cost a fraction of what it takes to operate a bus. The cost of a typical transit bus is about $300k. A cTrain is estimated to cost no more than an average car (about $30k). Energy
costs for buses are highly inefficient as they often travel with only a few passengers, except during rush hours. And lastly the cTrains are self driven, noise free, and pollution free. They require very little
energy; each train would need the energy of about 3 golf carts (four-seat golf carts).
Because of the low cost (under $2 mil/mile) the cTrain can provide coverage for through all the suburbs where there is typically little or no mass transit.
Boston Metro estimate:
In Boston metro there are currently 1,193 miles of mass transit of all modes including light rail: Massachusetts Bay Transportation Authority
The cTrain at $2mil/mile can be built to cover the entire MBTA service at a cost of $2.4 billion. The MBTA's expenses are estimated at $1.93 billion in fiscal year 2015
A comprehensive model would be to provide coverage over additional areas than currently offered by the MBTA. If the coverage was to include suburbs and easy access to business areas it would
probably increase from 1,193 to some 2,000 miles and would cost under $4 billion. Given that the cTrain would replace all existing mass transit it would free up valuable real estate such as the land used
by commuter rails, especially land within cities. Subway stations could be used for retail and office space which is in highest demand especially downtown. The real estate freed up can be valued in the
billions of dollars.
With the extended coverage at about 2000 miles the cTrain can bring many exponential benefits:
Exponential benefits
Implemented on a wide coverage model such as 2000 miles in the Boston area, the positive effects from adopting a cTrain model go beyond the immediate benefits:
- Worker productivity – less stress, less time wasted in traffic less financial strain from car costs etc.
- Employment – greater access to and from underserved areas would benefit both employers and workers - impact on poverty
- Equity – more opportunities for the poor who otherwise are limited by the lack of available transport or ability to pay
- Health - lower pollution, less accidents given that a great proportion of accidents happen during rush hours. There is plenty of evidence that commuting in heavy traffic has adverse health effects.
- Freight transportation – with fewer cars in rush hours goods can be transported more quickly during rush hours (hence cheaply)
- Lower costs for road maintenance – this is particularly relevant in areas where there salt is used on the roads
- If adopted on a wide scale worldwide, and designed to run entirely on renewable energy, what would be the effect on global warming?
Privacy - each
passenger has a
private space with
option to travel
together with a
companion
Green arches - improving ambiance with the urban environment.
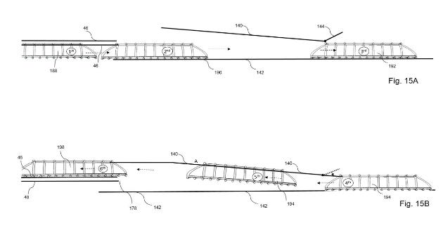
Switching tracks
Trains can switch tracks at the end of the line - in the example below the cTrain
arrives in 1st position on lower tracks (using upper wheels) and switches
to 6th position leaving the station on upper tracks (using lower wheels)
Vertical Depots
Using above method the cTrains parks itself in vertical depots for
storage and easy maintenance. Data from stations will feed into
algorithms by which the cTrain decides whether to "Return" to carry
passengers of park itself.
a comprehensive solution to urban mobility
MINI ELEVATED cTrain (caterpillar train)
Patents issued and pending - All Rights Reserved
JACOB-INNOVATIONS, LLC
Design Solutions
Patents issued and pending - All Rights Reserved
JACOB-INNOVATIONS, LLC
Design Solutions


Smooth Entry and Exit - In order to minimize the wait time in each station the cTrain is designed for quick entry and
exit. By having the station platform lower by one step below the floor of the train reduces the movement needed to
stand up and sit down (similar to access to and from an SUV) making exit and entry is faster and more comfortable.
Full Wheel Chair Access - each train will have one section that can be used both for wheel chairs and regular seating,
where two opposing seats can be folded.
Capacity & Frequency is estimated at one train every 10 seconds with 10 passengers each. The cTrain in this model
can carry 3600 passengers per hour. Given that it covers all major avenues this capacity is sufficient to replace the
typical subway that needs to be accessed from longer distances clustering passengers to cover a wide area. Unlike
the subway the cTrain can be accessed at the end of the block or at 2-3 blocks depending on exiting layout.
No jostling for seats - passengers line up to wait for the cars and walk to the points where a green light indicates an
upcoming open seat, in the same way as accessing the next open teller in a bank. Upon boarding they use a
computerized system to indicate where they intend to get off—which helps indicate open seats in the upcoming
stations via green light (image included) as well as forecast passenger flow and send out more cars as volume picks
up. By covering all major avenues the cTrain can handle the capacity needed to absorb all passengers with minimal
wait times.
Simple and Accessible Technology - the cTrain uses available
technologies and is design for quick and easy assembly and maintenance.
Visual impact - the trains are designed to move above as well as below the
rails which places them in the middle section above the street and thus the
furthest away from either side of the built environment - and further reduces
the visual impact on the urban landscape.